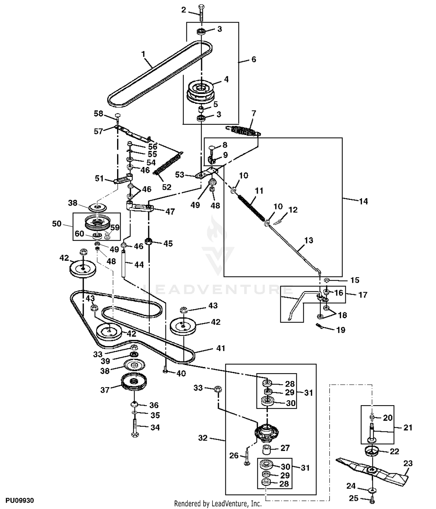
39 john deere 54c mower deck diagram
John Deere Leaf Bagging Blowout Kit 54C Deck - BM20985. (4) $139.10. Usually available. Add to Cart. John Deere Model 54C Mower Deck - 54-inch Deck Parts - Fits John Deere tractor models X710, X730, X734, X738, X739, X750, X754 & X758
Description: John Deere L120 Deck Rebuild - Youtube with regard to John Deere Mower Deck Parts Diagram, image size 1280 X 720 px, and to view image details please click the image.. Here is a picture gallery about john deere mower deck parts diagram complete with the description of the image, please find the image you need.

John deere 54c mower deck diagram
John Deere Parts Diagrams, John Deere LX280 Lawn Tractor 54C MOWER -PC9329 2004 Model Serial No. ... ANTI-BLOWOUT KIT: Convertible Mower Deck 48-Inch · John ... John deere mower deck parts diagram 48c and 54c mower deck learn how level john deere 48c and 54c mower deck your john deere riding lawn mower. The approx. £82.34 . The john deere 245 garden tractor was produced from 1993 1994 as part of the 200 series. Mower Drive Belt,Sheaves,Spindles & Blades,Mower Deck 54C: Mower Deck and Lift Linkage Z445 EZtrak Mower (With 54-IN "High C" Deck) -PC9595 2009 Model M0Z445R060001-080000 Z445 EZtrak Mower (With 54-IN "High C" Deck) -PC9595 2010 Model M0Z445R080001- Z445 EZtrak Mower (With 54-IN "High C" Deck) -PC9595
John deere 54c mower deck diagram. John Deere 345 Lawn Tractor Parts 54 Mower Deck. NEED HELP FINDING PARTS? CALL US AT (855) 669-7278. John Deere 345 Lawn Tractor Parts for 38 Mower Deck Quick Reference Guide. Click the part number below to view and order John Deere 345 Lawn Tractor Parts for 38 Mower Deck, or search illustrated diagrams to determine the part you need. John Deere 54C Mower Deck Parts Diagram Interior Designing Courses Near Me - Each of these online interior design courses has been created by a different user, so there is some overlap in the content. Apr 7, 2012 — Rear Engine Rider Mowers. 1; 992. L · loridinnx2000 · updated Aug 20, 2011 · Belt routing diagrams. John Deere Forum. Serial Number: M054CAD065101 -SUMNR 12-28-20. JOHN DEERE 54C MOWER DECK, HAS A PAIR OF HOOKS FOR THE FRONT, GOOD COND, SHOULD FIT THE JOHN DEERE LX255 GT225, GT235, GT245 SERIES, RICE $595. Updated: Sat, Oct 16, 2021 12:16 PM. Meridian Implement.
Buy Genuine OEM John Deere parts for your John Deere X530 Tractor Multi-Terrain Series W/ 54-IN Mower Deck -PC10373 2010 Model M0X530A050001-060000 X530 Tractor Multi-Terrain Series W/ 54-IN Mower Deck -PC10373 2011 Model 1M0X530A++M060001- 070000 X530 Tractor Multi-Terrain Series W/ 54-IN Mower Deck -PC103 and ship today! Huge in-stock inventory of OEM John Deere parts. John Deere TractorBelts - 42 inch yellow deck belt John Deere LX Hydro Drive Belts - Deere 48C and 54C deck belts diagramZ mower wiring diagram also dixon ztr john deere mower deck belt routing diagram in addition 52mra john deere won t charge will start together with john deere fuse box furthermore john deere z parts diagram diagrams ke. New Member. Jul 20, 2009, 11:40 AM. Belt diagram for john deere 54in deck mower. Diagram for the belt application on a 54in deck john deere f620. flayellowdog. View Public Profile. Find latest posts by flayellowdog. crigby Posts: 4,343, Reputation: 107. Outdoor Power Equipment Expert. Here's a little tip to help save you some money on the repair of a 48 inch or 54 inch mower deck on a John Deere X300 or X500 series lawn and garden tractor....
John Deere Parts Lookup -John Deere-54C Mower Deck (2210 Compact Utility Tractor) -PC2863 2002 Model M054CBB010001-020000 54C Mower Deck (2210 Compact Utility Tractor) -PC2863 2003 Model M054CBB020001-040000 54C Mower Deck (2210 Compact Utility Tractor) -PC2863 2004 Model M054CBC040001-0500 CALL US AT (855) 669-7278. John Deere GT245 Lawn Tractor Parts 54C Mower Deck Quick Reference Guide. Click the part number below to view and order John Deere GT245 Lawn Tractor Parts 54C Mower Deck, or search illustrated diagrams to determine the part you need. You can double the rope into a loop, put loop into hook of spring, grab both ends to extend, seat spring in deck shell, release one of the ends and ease the rope out by pulling the other end. Visit crigby's homepage! The belt is on a 445 John Deere lawn tracto. The mower model is 54 hd lawn. John deere 54c mower deck belt diagram ANTI-BLOWOUT KIT: Convertible Mower Deck 48-Inch ANTI-BLOWOUT KIT: Convertible Mower Deck 54-Inch AXLE SHAFT & DIFFERENTIAL: POWER TRAIN AM132246,MM13644 Battery Cables & Battery: ELECTRICAL BELT DRIVE & IDLERS 2WS: POWER TRAIN AM132246,MM13644 BELT DRIVE & IDLERS AWS: POWER TRAIN
John Deere Multi-Purpose. SD Polyurea Grease. As Needed. “As Needed” Parts. Qty. Part No. Item. 1. AM136872. Mower Deck Leveling Gauge.1 page
1-16 of over 1,000 results for "john deere mower deck parts 54" Price and other details may vary based on product size and color. 4 USA MADE DECK WHEEL+6 PIECE HARDWARE KITS FOR JOHN DEERE AM133602 AM116299 M111489
John Deere Parts Diagrams, John Deere Z445 EZtrak Mower (With 54-IN "High C" Deck) -PC9595 2009 Model M0Z445R060001-080000 Z445 EZtrak Mower (With 54-IN "High C" Deck) -PC9595 2010 Model M0Z445R080001- Z445 EZtrak Mower (With 54-IN "High C" Deck) -PC9595 ... Mower Drive Belt,Sheaves,Spindles & Blades,Mower Deck 54C: Mower Deck and Lift Linkage ...
John Deere Mower Deck Drive Belt Tightener Pulley - AM133924. (8) $113.30. Usually available. Add to Cart. Quick View.
Buy Genuine OEM John Deere parts for your John Deere GX345 Lawn & Garden Tractor 54-IN Convertible Mower Deck -PC9078 2002 Model M054CAB055001-065000 GX345 Lawn & Garden Tractor 54-IN Convertible Mower Deck -PC9078 2002 Model M054CAC010001-020000 GX345 Lawn & Garden Tractor 54-IN Convertible Mower Deck -PC9 and ship today! Huge in-stock inventory of OEM John Deere parts.
John Deere GX345 Lawn Tractor Parts 54C Mower Deck Quick Reference Guide. Click the part number below to view and order John Deere GX345 Lawn Tractor Parts 54C Mower Deck, or search illustrated diagrams to determine the part you need.
MaxLLTo M115245 Anti Scalp Deck Wheel for John Deere Mowers, Fits 48" 54" and 60" Mowers and Tractors (2-Pack) 4.6 out of 5 stars 11. $28.99 $ 28. 99. Get it as soon as Thu, Nov 18. FREE Shipping by Amazon. Only 18 left in stock - order soon. 8TEN Deck Rebuild Kit for John Deere 54 inch D170 LA175 E180 Blade Spindle Belt Idler.
Spindle Assembly For 42m 48c 54c 62c Deck John Deere Gx255 X324 2305 Z425 Z465 Yard Garden Outdoor Living Lawn Mowers
Filter parts for the John Deere 190C Lawn Tractor w/54″ Mower Deck include: Air Filter-Kit and Fuel Filter. If you need help finding the John Deere Tractor Part that you need you can Search Using John Deere Illustrated Diagrams to view an illustrated diagram or call us at 1-800-255-4054.
Description : John Deere 997 Z Trak Mower Parts within John Deere Z425 Parts Diagram, image size 410 X 410 px, and to view image details please click the image. Here is a picture gallery about john deere z425 parts diagram complete with the description of the image, please find the image you need. We hope this article can help in finding the ...
Not finding what you're looking for? Save john deere 54c mower deck parts to get e-mail alerts and updates on your eBay Feed.
John Deere Model 54C Mower Deck - 54-inch Deck Parts - Fits John Deere Models X400 Series, X575, X585, X595 and X700 Series2002 Model (SN M054CBB01000.
Mower Deck Spindle Assembly Kits For 48 Inch 54 Inch And 60 Inch Mower Decks Genuine Parts John Deere Products Johndeerestore
Due to the employee strike at John Deere, we are not receiving estimated in stock dates for all parts and equipment. John Deere PARTS LOOKUP. Z425-EZTRAK-TM-MOWER Parts Diagram. Z425 EZtrak Mower (W/ 48inch Deck) -PC9594 2007 Model M0Z425B010001-040000 Z425 EZtrak Mower (W/ 48inch Deck) -PC9594 2008 Model M0Z425B040001-060000 Z425 EZtrak Mower ...
Amazon Com Epr 3pk Spindle Assembly Replacement For John Deere Am144377 Zero Turn Mower Z425 Z445 48 54 Decks 48c 54c Lx X Z Trak X475 X485 X495 X575 X585 X595 Patio
John Deere Dust Cap - M131119. In Stock. $1.84. $1.84. For Decks with Serial No: -060000. 32. GX22425. John Deere Deck Wash Quick Coupler - GX22425. In Stock.
John Deere Gx325 Garden Tractor 54c Mower Pc9076 2002 Model Gx54hpx010001 Xxxxxx Gx325 Garden Tractor 54c Mower Pc9076 2003 Model Gx54hpxxxxxxx Xxxxxx Gx325 Garden Tractor 54c Mower Pc9076 2004 Model Gx54hpxxxxxxx Xxxxxx Gx325 Garden Tractor
John Deere AG, Lawn & Garden and CWP Equipment Parts Search. John Deere parts lookup tool and diagram is an incredible online source. It is a complete catalog that shows you detailed parts diagrams of every part of your machine. This online parts catalog is robust and easy to use. Searching for your John Deere parts online has never been easier.
Mower Drive Belt Sheaves Spindles And Blades Deck Sn M00072d 7 Attachment Mid Mount Rotary Mower Mower Decks And 3 Bag Mcs 2210 And 4x10 Series Cuts John Deere 4110 Attachment Mid Mount
1-24 of over 1,000 results for "john deere mower deck parts 54" Price and other details may vary based on product size and color. 4 USA MADE DECK WHEEL+6 PIECE HARDWARE KITS FOR JOHN DEERE AM133602 AM116299 M111489. 4.6 out of 5 stars 234. $38.49 $ 38. 49. Get it as soon as Wed, Nov 3.
John Deere 54C Mower Deck Housing - AM140695. (0) $1,354.59. Usually available. Add to Cart. Quick View.
Universal Drive Shaft 1 Attachment Mid Mount Rotary Mower Mower Decks And 3 Bag Mcs 2210 And 4x10 Series Cuts John Deere 4310 Attachment Mid Mount Rotary Mower Mower D 54 In 54c 60 In 62c 72 In Mower
Mower Drive Belt,Sheaves,Spindles & Blades,Mower Deck 54C: Mower Deck and Lift Linkage Z445 EZtrak Mower (With 54-IN "High C" Deck) -PC9595 2009 Model M0Z445R060001-080000 Z445 EZtrak Mower (With 54-IN "High C" Deck) -PC9595 2010 Model M0Z445R080001- Z445 EZtrak Mower (With 54-IN "High C" Deck) -PC9595
John deere mower deck parts diagram 48c and 54c mower deck learn how level john deere 48c and 54c mower deck your john deere riding lawn mower. The approx. £82.34 . The john deere 245 garden tractor was produced from 1993 1994 as part of the 200 series.
John Deere Gx325 Garden Tractor 54c Mower Pc9076 2002 Model Gx54hpx010001 Xxxxxx Gx325 Garden Tractor 54c Mower Pc9076 2003 Model Gx54hpxxxxxxx Xxxxxx Gx325 Garden Tractor 54c Mower Pc9076 2004 Model Gx54hpxxxxxxx Xxxxxx Gx325 Garden Tractor
John Deere Parts Diagrams, John Deere LX280 Lawn Tractor 54C MOWER -PC9329 2004 Model Serial No. ... ANTI-BLOWOUT KIT: Convertible Mower Deck 48-Inch · John ...
John Deere 325 335 345 355d Tractors 48 In Convertible Mower Deck Pc2924 1999 Model M048cac010001 025000 325 335 345 355d Tractors 48 In Convertible Mower Deck Pc2924 2000 Model M048cac025001 040000 325 335 345 355d
John Deere Lx280 Lawn Tractor 54c Mower Pc9329 2004 Model Serial No Gx54hpy010001 Lx280 Lawn Tractor 54c Mower Pc9329 Leaf Kit 48c Convertible Mower Deck 48 Inch
John Deere Lx280 Lawn Tractor 54c Mower Pc9329 2004 Model Serial No Gx54hpy010001 Lx280 Lawn Tractor 54c Mower Pc9329 Mower Drive Belt Sheaves Spindles Blades Convertible Mower Deck 48 Inch
Gage Wheels 01c22 Attachment Mid Mount Rotary Mower Mower Decks And 3 Bag Mcs 2210 And 4x10 Series Cuts John Deere 62 Attachment Mid Mount Rotary Mower Mower Dec 54 In 54c 60 In 62c 72 In Mower Decks
John Deere Lx280 Lawn Tractor 54c Mower Pc9329 2004 Model Serial No Gx54hpy010001 Lx280 Lawn Tractor 54c Mower Pc9329 Brake Pedal Linkage Steering And Brakes
John Deere Gx345 Lawn Garden Tractor 54c Mower Pc9078 2002 Model Gx54hpx010001 Xxxxxx Gx345 Lawn Garden Tractor 54c Mower Pc9078 2003 Model Gx54hpxxxxxxx 999999 Gx345 Lawn Garden Tractor 54c Mower
John Deere Lx280 Lawn Tractor 54c Mower Pc9329 2004 Model Serial No Gx54hpy010001 Lx280 Lawn Tractor 54c Mower Pc9329 Mower Deck Chute Gage Wheels Convertible Mower Deck 54 Inch
John Deere Gx325 Garden Tractor 54c Mower Pc9076 2002 Model Gx54hpx010001 Xxxxxx Gx325 Garden Tractor 54c Mower Pc9076 2003 Model Gx54hpxxxxxxx Xxxxxx Gx325 Garden Tractor 54c Mower Pc9076 2004 Model Gx54hpxxxxxxx Xxxxxx Gx325 Garden Tractor
0 Response to "39 john deere 54c mower deck diagram"
Post a Comment