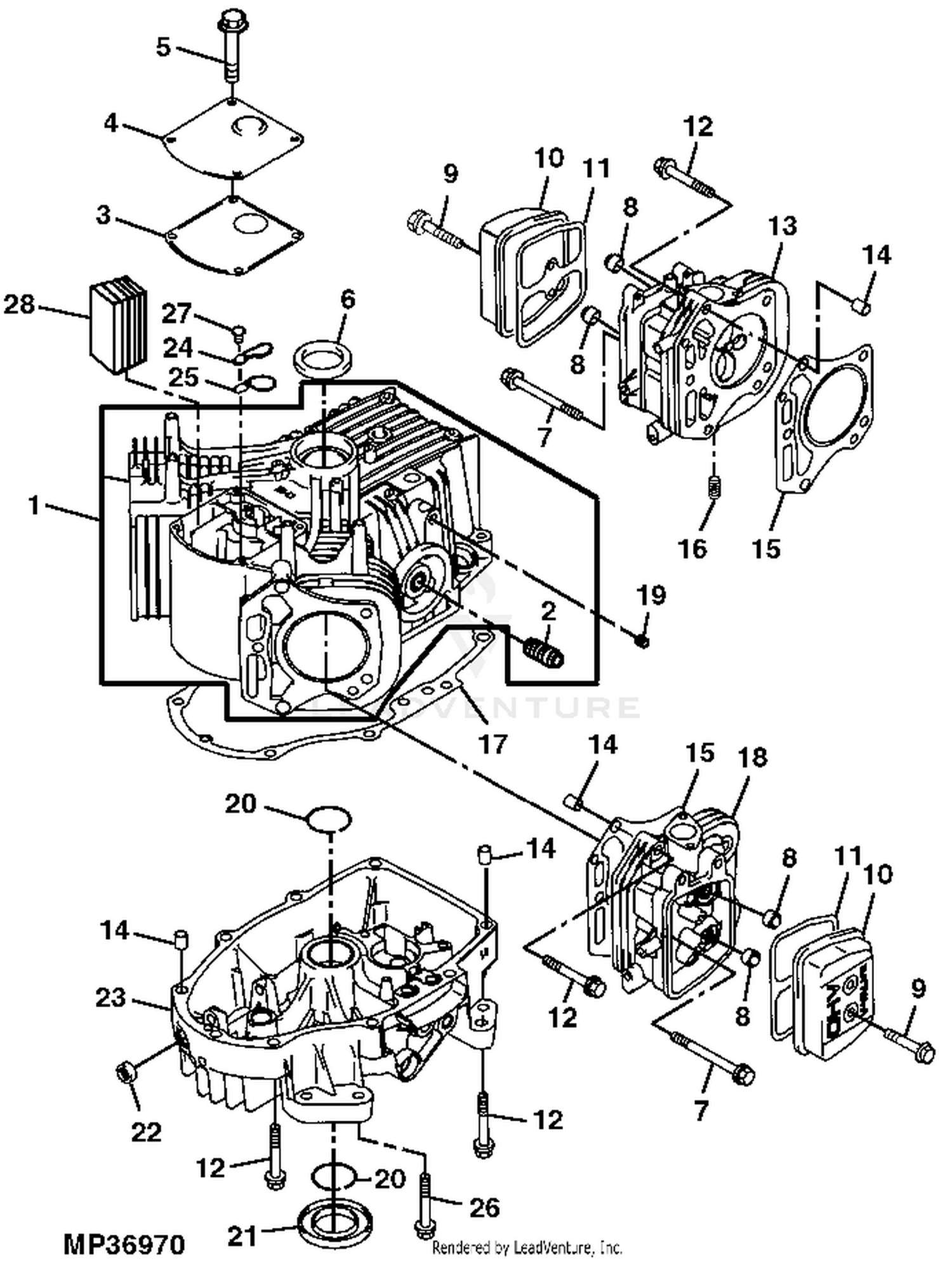
42 john deere x320 deck parts diagram
John Deere parts lookup tool and diagram is an incredible online source. It is a complete catalog that shows you detailed parts diagram s of every part of your machine. This online parts catalog is robust and easy to use. Searching for your John Deere parts online has never been easier. Description: John Deere D150 Lawn Tractor Parts with John Mower Deck from a John Deere 100 Series 125 Automatic Deck Welding: John Deere X500 48\" deck John Deere X320 how to remove mower deck to Sharpen blades How To Remove a John Deere X320 Mower Deck John Deere mower deck ... Convertible-Mower-Deck-48-Inch- Parts Diagram 4. Install and tighten bolt (A) by hand until mower blade is in full contact ...
How to video on how to change the Primary deck drive belt on a John Deere LT160, Freedom 42" Mulcher.Chris Fix Style. I have a John Deere LT160 Automatic mower the free-wheeling lever isn't hooked to anything how can i get this fixed or is there a diagram showing how to connect it back Wiki User ∙ 2013-09-02 23 ... John Deere 717A Zero Turn Mower- Steering Control Assembly Support Rod-USED ...

John deere x320 deck parts diagram
I have a 2013 X320 John Deere with the reverse disconnect for the mower deck. TRADEMARK DISCLAIMER, Tradenames and Trademarks referred to within Yesterday's Tractor Co. This type of john deere hydro 165 owners manual is often a very detailed document. John deere 42 inch mower deck parts diagram 232 Products — Your model number is a combination of letters and numbers which can be located on either the deck or hood of your equipment (Ex. LA125). 19 Oct 2018 — I need belt routing diagram tractor and mower blade for a scotts riding lawn mower by john deere . John deere 42 inch mower deck parts diagram. The only deck size that was manufactured for the John Deere 100 lawn tractor was a 42 ″ mower deck. This quick parts reference guide will provide you with the most common needed parts for your John Deere 100 lawn tractor. This includes tune up parts, blades, belts and filters for your John Deere ...
John deere x320 deck parts diagram. Draw shear force and bending moment diagram. Calculate the shear force and bending moment for the beam subjected to an uniformly distributed load as shown in the figure, then draw the shear force diagram (SFD) and bending moment diagram (BMD). 5 kN/m 3 m A B EXAMPLE 6 If we have bending moment diagram then just by differentiating the shear at ... John Deere LA175-D170 54" Deck Parts. Expect longer than usual lead times and limited product availability due to supply chain disruptions. Surges may apply to non stocking items. CONTACT US 260-436-6967 Live Chat. GO. Original price. $4,999 (1995 ) John Deere GT275 Engine. 17HP Kawasaki 534cc 1-cyl gasoline. Fuel tank. 2.75 gal. 10.4 L. Engine details ... John Deere GT275 Transmission. The John Deere 185 drive belt diagram and instructions can be obtained from most John Deere dealerships. Route the new belt in the same manner as the old belt.We have video's to help you replace your John Deere LT Lawn Tractor Parts 38 Mower Deck including: a spark plug, a blade, an air filter, an oil filter, a belt s, a battery, lubricate drive John Deere LT
Buy Genuine OEM John Deere parts for your John Deere LT Lawn Tractor With IN Mower Deck -PC solenoid kit: electrical and ship today!. Need Electrical Wiring Advice for John Deere LT The connector on the original engine had 4 wires, the replacement has only 2 wires then there could also be a wire to the anti-backfire solenoid on the carb if. Huge in-stock inventory of OEM John Deere parts. John deere lx188 parts diagram. Buy genuine oem john deere parts for your john deere lx188 lawn tractor with 48 in mower deck pc2317 carburetor lx188. The john deere lx188 was produced from 1992 to 1998 with options of 38 44 or 48 mower decks. Search part numbers and diagram s to identify the ... Equipped with a smooth running v. Please contact your john deere dealer for more accessories and the huge offer on clothing toys and other merchandise items. Belt routing for john deere x320 mower 48 belt has come off. The john deere x320 was produced from 2006 to 2015. John deere x320 belt diagram. John deere tractor belt s 42 inch yellow deck 42 hunter 85112 wiring diagram; 37 john deere x320 deck parts diagram; 38 national airspace system diagram; 41 parts of a door lock diagram; 39 2006 isuzu npr wiring diagram; 39 venn diagram generator excel; 41 how to create a venn diagram on google docs; 40 label the diagram according to the components a... 38 p28 ecu pinout diagram; 40 trane ...
John Deere 48 Inch Mower Deck Belt Diagram - Wiring 12/04/2019 · Service Mower I need to replace my mower deck belt on a deere x320 48 deck. John deere 48 inch mower deck belt diagram. John deere model 48 mower deck 48 inch deck parts fits john deere models 425 445 and 455 series1993 model sn m048hda010001 025000 1994 John Deere Manual | Service,and technical Manuals PDF The John Deere D140 is a 2WD lawn tractor from the D100 series. This lawn tractor was manufactured by John Deere in Greeneville, Tennessee, USA from 2011 to 2017. The John Deere D140 lawn tractor is equipped with one of two 0.7 L engines: Briggs & Stratton 40 (2011-2012) or Briggs & Stratton 44 There should be a parts list and wiring diagram. My suggestion is probably scrap it and find something new that is supported. Think common over the road unit. Sent from my SM-T380 using Tapatalk. Leece neville alternators wiring diagram. John Deere Parts Shortages & Order Delays. Updated November 11, 2021: John Deere, like many worldwide companies, is feeling the effects of the Covid-19 pandemic and some current labor issues. While John Deere Company itself is positioned for sustainability and longevity, they rely on hundreds of partners worldwide to manufacture their parts.
PDF 50 John Deere Engine Diagram 50 john deere engine diagram plus it is not directly done, you could resign yourself to even more just about this life, going on for the world. We manage to pay for you this proper as well as simple way to get those all. We pay for 50 john deere engine diagram and Page 2/51
John Deere STX38 Lawn Tractor Parts - Quick Parts 22-07-2015 · John Deere STX38 Lawn Tractor Parts 38 Mower Deck (Yellow Deck) Quick Reference Guide. Click the part number below to view and order John Deere STX38 Lawn Tractor Parts 38 Mower Deck (Yellow Deck), or search illustrated diagrams to determine the part you
Belt s John Deere John Deere X300 Drive Belt Diagram John Belt for John Deere X300 and X304 drive belt replacement john deere Mower Deck Fits X300 Series Tractors TW_8961]... Use the John Deere lawn tractor parts diagram to help keep on top of your machine maintenance. Download electrical schematic x - Answered by a verified Below are a few of top notch john deere x wiring diagram pictures on ...
Mower Deck Drive Belt For X300 Series With 42 Deck Belts Replacement Parts Genuine Parts John Deere Products Johndeerestore
john deere machinery list: john deere parts catalog. 622 - amt . air intake and filter admission d'air et filtre luftansaugung und luftfilter presa e filtro dell'ari » clip r56101 air intake and filter admission d'air et filtre luftansaugung und luftfilter presa e filtro dell'ari » clip r56101 210c - backhoe, loader

Amazon Com Tadamark Replacement Lawn Mower 42 48 Deck Belt For John Deere M154621 X300 X304 X320 X340 X360 Z245 1 2 X146 Patio Lawn Garden
John Deere 145 Manual Belt Replacement John Deere 48 Inch Mower Deck Belt Diagram - Wiring 12/04/2019 · Quick model guide for john deere 145 lawn tractor with 48 mower deck parts. Need deck belt diagram murray 40 125 hpi need the belt diagram for a yardman 46in. Mower deck gearbox oil. I need to replace my mower deck belt on a john deere x320 ...
42 hunter 85112 wiring diagram; 37 john deere x320 deck parts diagram; 38 national airspace system diagram; 41 parts of a door lock diagram; 39 2006 isuzu npr wiring diagram; 39 venn diagram generator excel; 41 how to create a venn diagram on google docs; 40 label the diagram according to the components a... 38 p28 ecu pinout diagram; 40 trane ...
I Need To Replace My Mower Deck Belt On A Deere X320 48 Deck It Came Off And I Do Not Know How To Route The Belt The
See the diagram s below to help you learn about the plate s! ... Marked Diagram of Earth's Crust, Marked Plate Tectonics Map, Finished Worksheet 2 on ... Label the tectonic plate s Fill in the blanks with the words below Tectonic-Pacific-Antarctic-Eurasian-Iranian-Arabian-Caribbean-plate s-moving-Pangea The Earth surface is formed of _____. The plate s of the Earth are _____ constantly. 175 ...
Drive Belt For Powerflow Material Collection Systems Genuine Parts John Deere Products Johndeerestore
John Deere X320 User Manual John Deere 317, 320 and CT322 Loader PDF Operation and Test Manual. For proper operation, repair quality, and timely maintenance of loaders John Deere, we recommend purchasing this manual. Technical information for the loaders 317, 320, and CT322 John Deere is divided into two parts: repair and operation and tests.
Clutch For X300 X500 Z200 And Z400 Series Clutches Replacement Parts Genuine Parts John Deere Products Johndeerestore
John deere x300 deck belt diagram The John Deere LT166 is equipped with manual steering, open operator station and 7.5 liters (2 US gal.; 1.6 Imp. gal) fuel tank. Following attachments are available for the JD LT166 lawn tractor: Mid-mount John Deere 38: 38 in (960 mm) mower deck with 2-blades and manual lift john deere 355d mower deck John ...
John Deere X320 Tractor Select Series Less Deck Export Pc9521 2006 Model Serial No M0x320b010001 040000 X320 Tractor Select Series Less Deck Export Pc9521 2007 Model Serial No M0x320b040001 085000 X320 Tractor Select Series
John Deere Parts Diagram & Parts Search • John Deere Parts. john-deere-js40-manual 2/4 Downloaded from edu-dev.fuller.edu on November 10, 2021 by guest JOHN DEERE - Service Manual Download John Deere 40 Rotary Tiller Technical Manual (TM1232) John Deere Walk-
John deere 42 inch mower deck parts diagram. The only deck size that was manufactured for the John Deere 100 lawn tractor was a 42 ″ mower deck. This quick parts reference guide will provide you with the most common needed parts for your John Deere 100 lawn tractor. This includes tune up parts, blades, belts and filters for your John Deere ...
John deere 42 inch mower deck parts diagram 232 Products — Your model number is a combination of letters and numbers which can be located on either the deck or hood of your equipment (Ex. LA125). 19 Oct 2018 — I need belt routing diagram tractor and mower blade for a scotts riding lawn mower by john deere .
I have a 2013 X320 John Deere with the reverse disconnect for the mower deck. TRADEMARK DISCLAIMER, Tradenames and Trademarks referred to within Yesterday's Tractor Co. This type of john deere hydro 165 owners manual is often a very detailed document.
John Deere X320 Tractor Select Series Less Deck California Pc9521 2008 Model Serial No M0x320c085001 120000 X320 Tractor Select Series Less Deck California Pc9521 2009 Model Serial No M0x320c120001 150000 X320 Tractor Select Series
John Deere X324 Tractor Select Series 42 In Mower Deck Pc9522 2006 Model M042cma010001 020000 X324 Tractor Select Series 42 In Mower Deck Pc9522 2007 Model M042cma020001 Serl0000 X324 Tractor Select Series
John Deere X320 Tractor Select Series Less Deck Export Pc9521 2006 Model Serial No M0x320b010001 040000 X320 Tractor Select Series Less Deck Export Pc9521 2007 Model Serial No M0x320b040001 085000 X320 Tractor Select Series
John Deere X320 Tractor Select Series 48 Inch Mower Deck W Non Rotatable Anti Scalp Wheels Pc9521 2007 Model M048sba010001 020000 X320 Tractor Select Series 48 Inch Mower Deck W Non Rotatable Anti Scalp Wheels Pc9521 2008 Model M048sba020001
John Deere X320 Tractor Select Series Less Deck California Pc9521 2008 Model Serial No M0x320c085001 120000 X320 Tractor Select Series Less Deck California Pc9521 2009 Model Serial No M0x320c120001 150000 X320 Tractor Select Series
John Deere X320 Tractor Select Series Less Deck California Pc9521 2008 Model Serial No M0x320c085001 120000 X320 Tractor Select Series Less Deck California Pc9521 2009 Model Serial No M0x320c120001 150000 X320 Tractor Select Series
0 Response to "42 john deere x320 deck parts diagram"
Post a Comment