39 craftsman mini tiller fuel line diagram
316.292711 Craftsman Tiller Parts & Free Repair Help ... The best way to find parts for Craftsman tiller model 316.292711 is by clicking one of the diagrams below. You can also browse the most common parts for Craftsman tiller model 316.292711. ... This website is awesome it was really easy to find the two fuel lines I needed to replace. I had the parts in 2 days after I ordered them online, and they ... Amazon.com: craftsman tiller parts AISEN Carburetor for Craftsman 4 Cycle Mini Tiller 316.292711 Fuel Line Filter Primer Bulb Carb Gasket. 4.6 out of 5 stars 88. $14.26 $ 14. 26. ... for MTD MP429 MP479 Craftsman Troy Bilt TB525EC TB590EC Yard Machines 753-06240 Cub Cadet BC5090 CC148 Trimmer with Fuel Lines Replacement Part. 4.4 out of 5 stars 47. $17.89 $ 17. 89 $18.98 $18.98.
PDF Craftsman mini tiller cultivator fuel line diagram Craftsman mini tiller cultivator fuel line diagram POWERFUL AND QUIET: 30cc, 4-cycle engine is cleaner and produces less noise NO MIXING: 4-cycle advantage needs no mixing of gas and oil ADVANCED 2-STEP STARTING: 2-Step starting simplifies starting to just prime and pull ELECTRIC-START CAPABLE: Eliminates manual pull starts with an electric start drill bit (Drill Bit & Drill Sold

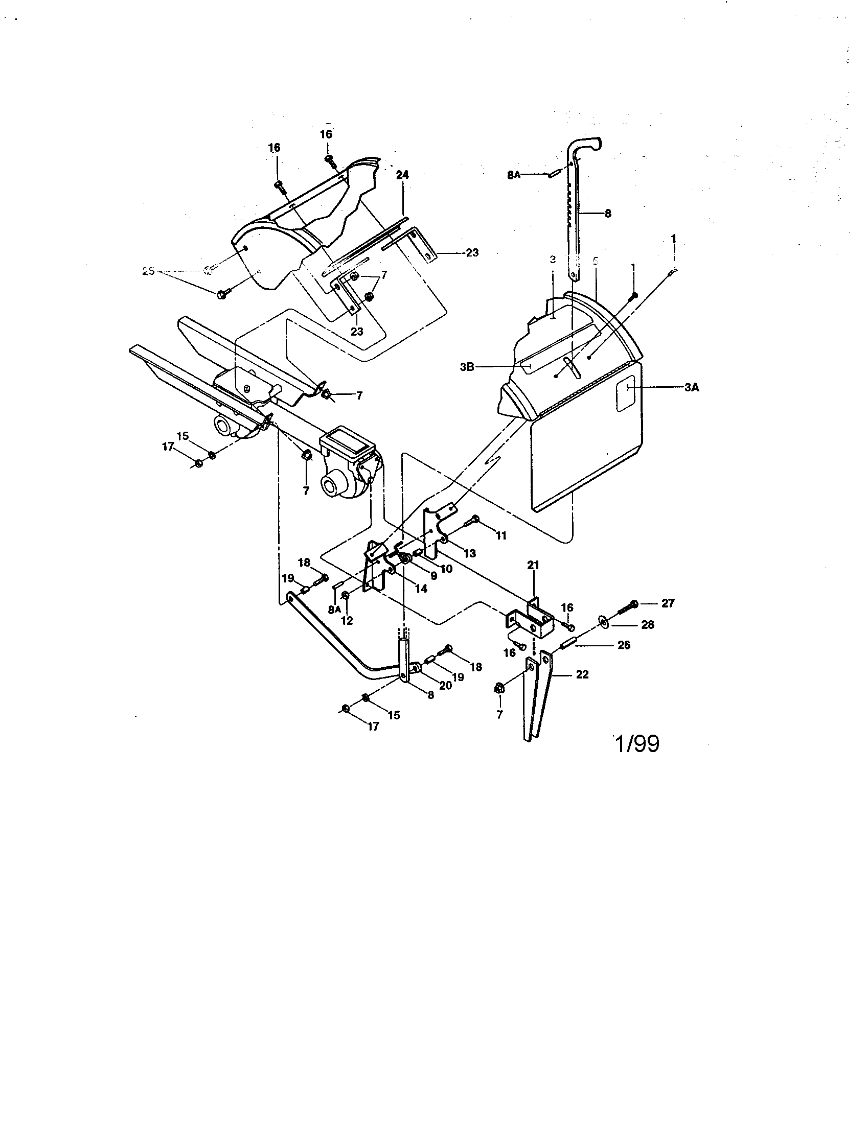
Craftsman mini tiller fuel line diagram
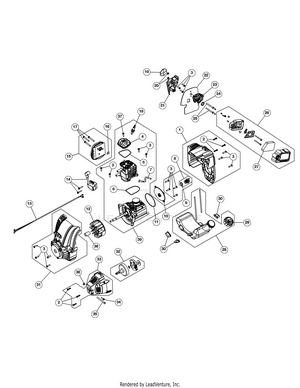
Craftsman 2-Cycle Mini-Tiller And Cultivator | 316.292620 ... Craftsman 316.292620 2-Cycle Mini-Tiller And Cultivator Parts We Sell Only Genuine Craftsman Parts Clutch $21.99 Add to Cart Fuel Line Assembly $14.26 Add to Cart Primer and Hose Assembly $19.48 Add to Cart Fuel Line $6.06 Add to Cart Screw $3.77 Add to Cart Switch $9.07 Add to Cart Air Filter $9.03 Add to Cart Carburetor Mounting Gasket $3.75 Troy-Bilt TB146 EC Tiller How to Repair Fuel Lines using a ... This Video Shows how to Replace, Change or Repair the Fuel and Primer Lines for a Troy-Bilt TB146EC Tiller, Using a Simple Pocket Knife, Scissors and a Woode... 316.29937 (21AK144G799) - Craftsman Tiller (2010) (Sears ... Repair parts and diagrams for 316.29937 (21AK144G799) - Craftsman Tiller (2010) (Sears)
Craftsman mini tiller fuel line diagram. BL410 Bolens Tiller Parts & Repair Help | PartSelect Get Parts and Repair Help for BL410 Bolens Tiller - Tiller. View parts like Fuel Line and Filter and Fuel Return Line. PDF 32.8 cc 2-cycle 10 inch Diameter Tines TILLER/CULTIVATOR BEFORE STARTING ENGINE FILL GAS 'Thetwo cycle engine used on this mini tiller/ cultivatorrequires a mixture ofgasoline and oilfor lubrication of the bearings and other moving parts, The correct fuel mixture ratio is24:1 (see Fuel Mixture Chart). Gasoline and oil must be premixed in a clean gaso- line container. Free Craftsman Tiller User Manuals - ManualsOnline.com Craftsman Tiller User Manual. Pages: 56. See Prices; Craftsman Tiller 917.29921. Craftsman Tiller User Manual ... 21 of 21 Problems & Solutions. I needs instructions on how to insert line to the ... I installed a new friction wheel. When I dis-asse... neeb repair of Kohler cn5s, display spec 41567... I needth the information in order the part ... How to Replace the Carburetor in a Craftsman Tiller | Home ... Craftsman tillers run on a two-cycle combustion engine. The carburetor runs between the fuel tank and the engine. Its job is to regulate the intake of fuel as the tiller runs at varying speeds.
PDF Craftsman 32cc Mini Tiller Manual Carburetor Fuel Line Kit For Craftsman 4 Cycle Mini Tiller 316.292711 Fuel Line. Sold by goldenmotor an eBay Marketplace seller. $119.99 $108.99. Craftsman A036003 26.5cc 4-Cycle Gas String Trimmer (38) Sold by Sears. $22.37 $21.26. Page 19/23 How to Replace the Replacement Fuel Lines on a Mantis Tiller Pull the fuel line, gasket and fuel filter from inside the gas tank and dispose of properly. 6. Obtain a replacement fuel line kit for the specific model Mantis tiller you have. Craftsman Weedeater leaking gas. Fuel line repair and ... Links to products I have in my tool bag.Compression tester. Checker. Fuel Line. ... 316.299372 / 2012 Craftsman Tiller Parts & Free Repair ... Parts & Diagrams Parts for Craftsman 316.299372 / 2012 Search Parts for Craftsman 316.299372 / 2012 Tiller - Most Popular Parts Fuel Tank Assembly with Fuel Lin... MFG Number 753-06240 In Stock Ships Thursday Quantity Add to Cart Clutch Assembly MFG Number 753-06281 In Stock Ships Thursday Quantity Add to Cart O Ring MFG Number 791-181751 In Stock
39 craftsman weedwacker fuel line diagram - Diagram For You Fuel line diagram Posted by mike47ms on Aug 23, (if Detached from the Carburetor) Out the Tank Fill Hole Enough to Replace the Filter. Craftsman 4 Cycle Mini Tiller Fuel Lines - Diagram Niche Ideas This oem fuel tank assembly is made out of plastic and it includes the fuel lines, fuel cap, and fuel filter. Line gasoline weedwacker (29 pages). Craftsman Tillers Parts with Diagrams - PartsTree All models of Craftsman Tillers. Fix it fast with OEM parts list and diagrams. ... Craftsman Tillers Parts Lookup & Diagrams Craftsman Tillers Parts Lookup & Diagrams Craftsman Tillers ( 83 Models ) 247.23000 (21AB47M6099) - Craftsman Tiller (2011) (Sears) 247.23000 (21AB47M6099) - Craftsman Tiller (2012) (Sears) ... Craftsman Front Tine Tiller Transmission Replacement ... I have a craftsman front tine tiller that has a tranmission box that it cracked open in a few spots near the tines and the chain is actually exposed. The cracks in the transmission makes the front of the tiller loose resulting in the tines hitting the dirt guard. I just found out that a replacement transmission can be bought but I don't know ... Fuel Line Replacement Cycle Craftsman Tiller - Sears $35.23 $32.03 Husqvarna Poulan Craftsman Trimmer (4 Pack) Replacement 25' Fuel Line # 530069599-4PK Sold by APS $22.02 $20.93 Poulan Pro Homelite poulan craftsman trimmer (2 pack) oem replacement 25" fuel line # 530069599-2pk Sold by Mac Marvel's $21.35 $19.41 Husqvarna Poulan Craftsman Trimmer (2 Pack) Replacement 25' Fuel Line # 530069599-2PK
Craftsman 316299372 farming parts | Sears PartsDirect Craftsman 316299372 farming parts - manufacturer-approved parts for a proper fit every time! We also have installation guides, diagrams and manuals to help you along the way!
Craftsman 316240320 front-tine tiller manual Download or print a free copy of the user manual below. MINI TILLER (OWNERS) 769-07010 1111 (viewing) Download PDF Owner's Manual Top Parts Models Showing 10 of 52 parts Show 10 per page Show Line trimmer carburetor Part #753-06288 $27.99 | 13% OFF MSRP: $32.00 In Stock Qty Add to cart Lawn & garden equipment engine carburetor mount gasket
Craftsman Tiller: Model 316.292561 Parts & Repair Help ... Craftsman Tiller Fuel Line. Genuine OEM Part # 791-181086 | RC Item # 1606393. $5.87. ADD TO CART. Fuel line. The fuel line allows fuel to travel from the fuel tank to the carburetor and from the primer bulb to the fuel system. If the fuel line is leaking, replace it. Craftsman Tiller Primer Bulb.
Ryobi Tiller Fuel Line Diagram - schematron.org The gas fuel line is . If your small engine's fuel lines are clogging, cracking or showing signs of ethanol damage, the fuel line replacement kit is the inexpensive solution that will help keep your equipment running like new. The fuel system tune-up kit is designed to reduce evaporative emissions. The kit includes a fuel /5 ().
Craftsman Tiller: Model 316.292620 Parts & Repair Help ... Craftsman Tiller Fuel Line Genuine OEM Part # 791-181086 | RC Item # 1606393 30 Reviews Watch Video $6.21 ADD TO CART Fuel line. The fuel line allows fuel to travel from the fuel tank to the carburetor and from the primer bulb to the fuel system. If the fuel line is leaking, replace it. Craftsman Tiller Primer Bulb
Mantis Tiller Fuel Line Diagram - schematron.org Carburetor Fuel line Kit Mantis Tiller . fuel tank faces operator. this is the rear of the tiller, refer to assembly instruction on page 7. cutting hazard; keep feet and hands away from rotating tines. wear ear and eye protection. read owner's manual before using tiller, or performing any repair or maintenance.
Craftsman Brushwacker 32cc Fuel Line Diagram The smaller diameter line (fuel supply) goes from the fuel tank (w/filter) to the carb body. Another larger line (purge line) goes from carb body to.Craftsman Brushwacker modelNNN-NN-NNNN 32cc. Craftsman Brushwacker modelNNN-NN-NNNN 32cc. Need "all" fuel line routing instructions.
Craftsman Gas Mini Tiller | 316292640 | eReplacementParts.com Craftsman 316292640 Gas Mini Tiller Parts We Sell Only Genuine Craftsman Parts Clutch $21.99 Add to Cart Primer and Hose Assembly $19.48 Add to Cart Screw $3.77 Add to Cart Switch $9.07 Add to Cart Accelerator Lever $6.93 Add to Cart Air Filter $9.03 Add to Cart Carburetor Mounting Gasket $3.75 Add to Cart Spark Plug $12.93 Add to Cart
316.29937 (21AK144G799) - Craftsman Tiller (2010) (Sears ... Repair parts and diagrams for 316.29937 (21AK144G799) - Craftsman Tiller (2010) (Sears)

How to tell where to correctly connect what fuel line on a weed eater, trimmer, leaf blower or edger
Troy-Bilt TB146 EC Tiller How to Repair Fuel Lines using a ... This Video Shows how to Replace, Change or Repair the Fuel and Primer Lines for a Troy-Bilt TB146EC Tiller, Using a Simple Pocket Knife, Scissors and a Woode...
Craftsman 2-Cycle Mini-Tiller And Cultivator | 316.292620 ... Craftsman 316.292620 2-Cycle Mini-Tiller And Cultivator Parts We Sell Only Genuine Craftsman Parts Clutch $21.99 Add to Cart Fuel Line Assembly $14.26 Add to Cart Primer and Hose Assembly $19.48 Add to Cart Fuel Line $6.06 Add to Cart Screw $3.77 Add to Cart Switch $9.07 Add to Cart Air Filter $9.03 Add to Cart Carburetor Mounting Gasket $3.75
0 Response to "39 craftsman mini tiller fuel line diagram"
Post a Comment